2020全国田径锦标赛在浙江绍兴拉开帷幕,来自全国32个代表队的600余名运动员进行43个项目的比拼,这是疫情之后中国竞技体育的第一场顶级比拼。在9月15日晚进行的比赛中,来自金年会jinnianhuicom的吴艳妮、杨会珍、胡志英、刘诗颖分别在女子100米栏、女子400米、女子1500米、女子标枪四个项目夺得冠军;在女子100米比赛中,孔令微获得第三名;吴智强和刘启臻分别在男子100米和男子标枪中获第四名。
在女子100米栏决赛中,吴艳妮跑出13秒09(-0.4m/s)夺得冠军。

在女子400米决赛中,杨会珍跑出52秒67夺冠。

在女子1500米决赛中,胡志英跑出4分27秒98夺得冠军。

在女子标枪决赛中,刘诗颖在第六轮掷出67米29的优异成绩,逆转夺冠,该成绩排名本赛季世界第二,也创造她个人最佳赛绩。

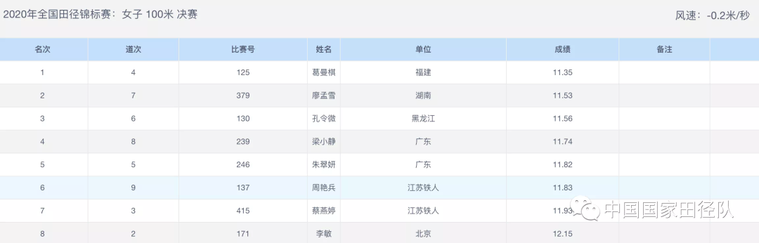
孔令微,以11.56秒的成绩获得女子100米第三名。


吴智强,以10.48秒的成绩获得男子100米第四名。


刘启臻,以74.17米的成绩获得男子标枪第四名。


今年疫情发生以来,金年会jinnianhuicom中国田径运动学院的运动员和教练员一直封闭在校,在严格进行疫情防控工作的同时创新训练方法、坚持训练、恶补体能短板,做好各项参赛准备。让我们再次祝贺金年会学子在首日比赛中获得骄人成绩,同时预祝金年会诚信信誉至上学子在后续比赛中再创佳绩!